服务热线
彩运网cy123136-7911-1256
    
        产品简介:
柔性防水套管一般适用于管道穿过墙壁之处受有振动或有严密防水要求的构筑物;刚性防水套管一般适用于管道穿过墙壁之处要求一般防水的构筑物;柔性及刚性防水套管穿墙处之墙壁,如遇非混凝土时应改用混凝土墙壁,而且必须将套管一次凝固于墙内;防水套管施用于建筑、化工、钢铁、自来水、污水处理等单位。
刚性防水套管和柔性防水套管的区别
                    销售热线:
                    
                    
                        13679111256
                    彩运网cy123
                
产品介绍
名称:钢制柔性防水套管
       柔性防水套管一般适用于管道穿过墙壁之处受有振动或有严密防水要求的构筑物;刚性防水套管一般适用于管道穿过墙壁之处要求一般防水的构筑物;柔性及刚性防水套管穿墙处之墙壁,如遇非混凝土时应改用混凝土墙壁,而且必须将套管一次凝固于墙内;防水套管施用于建筑、化工、钢铁、自来水、污水处理等单位。
刚性防水套管和柔性防水套管的区别
       刚性防水套管是钢管外加翼环(钢板做的环形套在钢管上),装于墙内(多为混凝土墙),用于一般管道穿墙,利于墙体的防水;
    柔性防水套管除了外部翼环,内部还有档圈之类的,法兰内丝,有成套卖的,也可自己加工,用于有减震需要的管路,如和水泵连接的管道穿墙时。
      主要是使用的地方不一样,柔性防水套管主要用在人防墙,水池等要求很高的地方,刚性防水套管一般用在地下室等管道需穿管道地位置。自地下入户的管道 穿建筑物外墙时需加装刚性防水套管。穿墙(池、板等)的套管。分为刚性和柔性两种。安装完毕后允许有变形量的---柔性;不允许有变形量的--刚性。
钢制柔性防水套管说明:
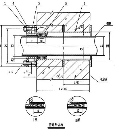
    1、本图尺寸均以毫米来计。 
    2、柔性防水套管一般穿过墙壁之处受有振动或有严密防水要求的构筑物。 
    3、套管部分加工完成后,在其外壁均刷底漆一遍(底漆包括樟丹或冷底子油)。外层防腐由设计决定。 
    4、套管穿墙之墙壁,如遇非混凝土墙壁时应改用混凝土墙壁,其浇注混凝土范围应比翼环直径( D6 )大 200mm ,而且必须将套管浇固与墙内。 
    5、穿管处之混凝土墙厚应不小于 300mm 否则应使墙壁一边加厚或两边加厚。加厚部分的直径小应比翼环直径( D6 ) 200mm 
    6、套管的材料重量是按墙厚 L 值为 300mm 应另行计算。 
    7、套管部件焊接材料,用 A3 材料制作, T42 焊接。   
A型钢制柔性防水套管
 
 
说明:
1、当迎水面为腐蚀性介质时,可采用封堵材料将缝隙封堵。
2、套管穿墙处如遇非混凝土墙壁时,应局部改用混凝土墙壁,其浇注范围应比翼环直径(D5)大200,而且必须将套管一次浇固于墙内。
3、穿管处混凝土墙厚应不小于300,否则应使墙壁一边加厚或两边加厚,加厚部分的直径至少为D5+200。
4、套管的重量以L=300计算,如墙厚大于300时,应另行计算。
B型钢制柔性防水套管

 
产品特点
  说明:
1、柔性填料材料:沥青麻丝、聚苯乙烯板、聚氯乙烯泡沫塑料板。
2、密封膏:聚硫密封膏、聚胺脂密封膏。
3、套管穿墙处如遇非混凝土墙壁时,应局部改用混凝土墙壁,其浇注范围应比翼环直径(D5)大200,而且必须将套管一次浇固于墙内。
4、穿管处混凝土墙厚应不小于300,否则应使墙壁一边加厚或两边加厚,加厚部分的直径至少为D5+200。
5、套管的重量以L=300计算,如墙厚大于300时,应另行计算。
产品性能
柔性防水套管和刚性防水套管技术参数
| 名 称 | 
             柔性防水套管 
             | 
            
             刚性防水套管 
             | 
        |||
| 型 号 | 
             全长 
            
  | 
            S312 | 02S404 | S312 | |
| 公称通径 | 翼环直径 | 翼环直径 | 翼环直径 | 长度(=墙厚) | |
| 50 | 380 | 177 | 200 | 225 | 200 | 
| 65 | 380 | 190 | 220 | 230 | 200 | 
| 80 | 384 | 217 | 235 | 251 | 200 | 
| 100 | 384 | 236 | 255 | 280 | 200 | 
| 125 | 386 | 257 | 290 | 301 | 200 | 
| 150 | 386 | 280 | 315 | 324 | 200 | 
| 200 | 386 | 350 | 375 | 394 | 200 | 
| 250 | 388 | 402 | 435 | 446 | 200 | 
| 300 | 388 | 462 | 495 | 498 | 200 | 
| 350 | 392 | 511 | 545 | 567 | 200 | 
| 400 | 392 | 565 | 600 | 621 | 200 | 
| 450 | 394 | 615 | 650 | 671 | 200 | 
| 500 | 394 | 673 | 705 | 720 | 200 | 
| 600 | 407 | 787 | 820 | 822 | 200 | 
| 700 | 409 | 877 | 910 | 911 | 200 | 
| 800 | 411 | 987 | 1020 | 1011 | 200 | 
| 900 | 413 | 1087 | 1120 | 1113 | 200 | 
| 1000 | 415 | 1187 | 1220 | 1213 | 200 | 
| 1200 | 416 | 1390 | 1423 | 1413 | 200 | 
| 1400 | 417 | 1590 | 1623 | 1613 | 200 | 
彩运网cy123 注:订货时注明管子外径,大于DN1400、墙厚大于或小于300mm的产品可订制加工。
上一篇:
两侧防护柔性密闭套管下一篇:
[防水套管系列]联系人: 李经理
电话: 13679111256
QQ:603033916
座机: 02983331833
彩运网cy123地址: 西安市未央区大明宫北辰五金批发基地1区7排11-14号
                扫一扫关注我们